Как класть плитку на гипсокартон: поэтапная инструкция.
С появлением на рынке такого замечательного материала, как гипсокартон, все больше и больше обывателей задаются вопросом, а можно ли класть керамическую плитку на данный отделочный материал. Да - можно и данная задача вполне по силам любому домашнему мастеру. Далее в статье я попробую максимально развернуто и поэтапно рассказать, как положить кафель на гипсокартон своими силами.
Мы выбираем материал.
Существует несколько разновидностей ГКЛ и в зависимости, от сферы его применения нужно выбирать материал максимально подходящий для выполнения поставленных задач. Основные виды гипсокартона:
1 ГКЛ, ГВЛ - идеально подходит для сухих помещений (гостиная, коридор и т. д. );.
2 ГКЛВ и ГВЛВ - влагостойкий материал, используемый на кухне, ванной и местах с повышенной влажностью;.
3 гклво - устойчив к повышенной температуре;.
4 ГЛЛВ ЭП - материал высшего качества.
Все из вышеперечисленных вариантов, подходят для укладки плитки, но все же я бы посоветовал использовать гипсокартон ГКЛВ и ГВЛВ.
Итак, с основанием разобрались, теперь переходим к выбору дополнительных инструментов и материалов, которые нам понадобятся для крепления плитки на гипсокартон:
5 клей для керамической плитки;.
6 крестики и уголки;.
7 затирка;.
8 строительный уровень;.
9 плиткорез или победитовый резец;.
10 строительный миксер;.
11 резиновый шпатель;.
12 рифленый шпатель;.
Подготовка поверхности.
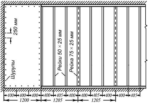
Плитка - материал достаточно увесистый и поэтому гл лучше всего закрепить на обрешетку. Обрешетка может быть выполнена в двух вариантах: из дерева и металла. Таким образом, если обрешетка выполнена из дерева, то ее необходимо в обязательном порядке обработать влагостойким антисептиком.
При монтаже, шаг обрешетки не должен превышать 40 см. Что гарантирует прочность конструкции, предотвратит деформацию ГКЛ и в последующем отклеивания плитки.
После проведения работ по закреплению листов ГКЛ на обрешетку, необходимо проклеить поверхность полипропиленовой сеткой. Существует два варианта выполнения данной работы. Либо мы оклеиваем гипсокартон сеткой полностью, либо заделываем только швы. При выполнении первого варианта, поверхность можно и не шпаклевать, а только нанести грунтовку. При выборе - же второго способа придется запастись терпением и прошпаклевать листы полностью.
Важно: используя для отделки ГКЛ грунтовку вы будете уверены, что добились максимального сцепления кафеля с поверхностью. Наносят грунтовку либо малярным валиком, либо краскопультом в два слоя, сначала наносим первый слой, ждем пока он просохнет и наносим второй.
Подготовка плитки.
Следующий этап работ - это подготовка плитки. После приобретения и доставки материала, его необходимо осмотреть на сколы и трещины. Отбракованные элементы нужно отложить и использовать их для мест где необходима подрезка. Далее, раскладываем плитку на полу воспроизводя точный рисунок и положение декоративных элементов. Необходима данная операция для определения однотипности плитки, так как иногда случается, что материал даже из одной партии имеет разный оттенок. Только в том случае, если вы нашли отдельный элемент, выделяющийся из общей картины, то его сразу откладываем и используем в малозаметных местах.
Укладка плитки на гипсокартон.
Наконец мы и добрались, до основной поставленной задачи - монтажа плитки на ГКЛ. Ранее мы приобрели плиточный клей, выше я забыл добавить, что он бывает, как разведенный, так и сухой. Таким образом, если вы приобрели сухую смесь, то ее необходимо "Приготовить", четко следуя инструкции представленной на упаковке.
Совет: клей необходимо разводить так что - бы его количества хватило на 1 м 2, в противном случае он начнет набирать прочность и застывать.
Далее, используя рифленый шпатель клей наноситься на стену, площадью, которую вы можете обработать в течении 10 минут, так как тонкий слой клея быстро высыхает. На плитку клей нужно нанести ровным в 2 - 3 мм слоем, если слой будет толще, то могут возникнуть проблемы с ее поклейкой на стену.
И стену, и поверхность плитки обрабатывают клеем затем, чтобы предотвратить появления между двумя поверхностями пустот и как следствие непрочного крепления.
Обычно, наклейку плитки начинают со второго горизонтального ряда, есть конечно и другие способы, но их рассматривать мы не будем. Для монтажа плитки по второму ряду, на границе с первым, необходимо закрепить направляющую планку, выравненную по уровню и начинать клеить плитку от дальнего угла, не забывая вставлять крестики по углам плитки.
Дойдя до конца ряда, вы наверняка столкнетесь с тем что вам придется подрезать элемент кафеля, для этой работы лучше всего использовать плиткорез, но не у всех он имеется в наличии и поэтому сейчас расскажу, как обойтись без него. Для этого на лицевой части кафеля, простым карандашом отмечаем линию разреза и победитовым резцом прорезаем не только глазурь плитки, но и захватываем часть основания. Затем берем плитку и местом разреза аккуратно ударяем о край стола, стула ну или что будет под рукой. В случае если плитка не разломилась в положенном месте, то проходимся еще раз резцом по линии разреза.
По завершении монтажа каждого пятого ряда, можно и нужно делать перерыв на полчаса, час. Это необходимо для того что - бы ГЛ "Привык" к нагрузке, а плиточный клей набрал прочности. В случае если таким правилом пренебрегать, то последствия могут быть очень печальными, от тяжести верхних рядов при не схватившемся клее вся плитка может "Поехать", либо вообще осыпаться. Так - же каждые уложенные пять рядов проверяем уровнем на ровность.
Последний самый нижний ряд плитки рекомендуется крепить после завершения основных работ, часа через три, четыре.
Затирка швов.
На завершающем этапе, необходимо удалить все крестики использованные для равнения плитки и затереть швы между кафелем. Затирку удобнее всего наносить резиновым шпателем, тщательно промазывая все зазоры, для равномерного просыхания затирки, швы необходимо смачивать водой в течении двух суток. После высыхания затирки, а это примерно дня два - три, можно приступать к уборке помещения влажной тряпкой. Для того чтобы увеличить срок службы затирки, ее можно покрыть специальным лаком.







Больше информации о ремонте и отделка тут http://remont.ru-best.com/remont-kvartir/remont-i-otdelka